根据《水利部办公厅关于开展一级造价工程师(水利工程)和监理工程师(水利工程)执业活动动态核查工作的通知》(办建设函〔2025〕726号),水利部于近期开展了一级造价工程师(水利工程)、监理工程师(水利工程)执业活动动态核查,发现部分人员在其他单位注册其他职业资格或者缴纳社会保险。
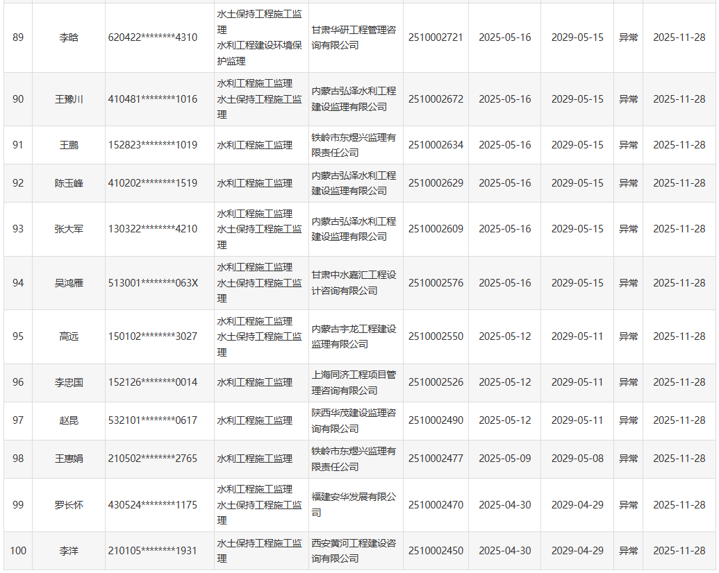
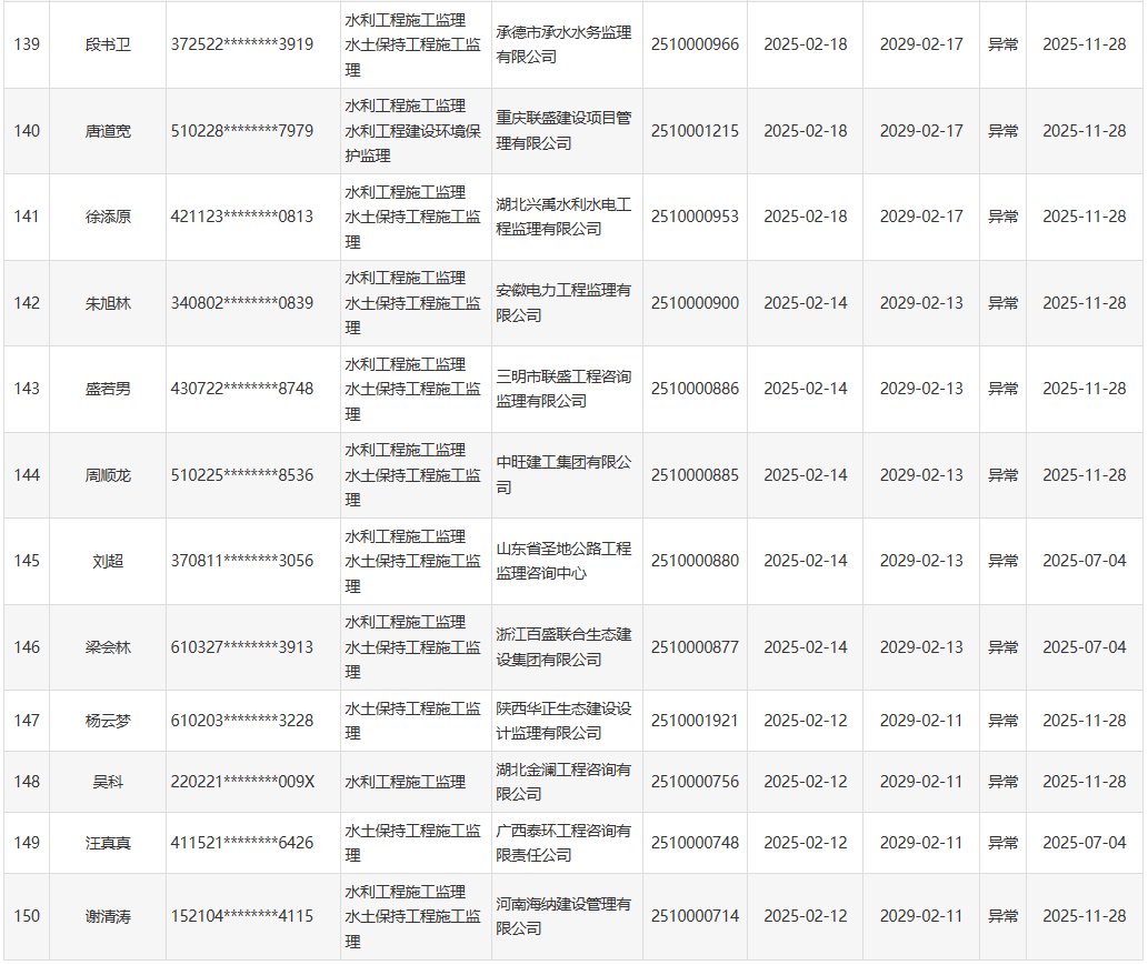
现将相关人员的注册证书状态设置为异常,并在水利部政务服务平台的“一级造价工程师(水利工程)注册信息查询”(https://spjc.mwr.gov.cn/spjc/hallg/seacher_zjs.jsp?mindex=2&state=1)和“监理工程师(水利工程)注册信息查询”(https://spjc.mwr.gov.cn/spjc/hallg/seacher_jlgcs.jsp?mindex=2&state=1)栏目予以公示。通过水利部政务服务平台系统消息和手机短信通知相关人员。
对相关人员及其聘用单位的管理措施,完成问题整改后恢复注册证书状态的程序要求等事项,按照办建设函〔2025〕726号文的有关规定执行。
联系电话:010-63208000(技术)
010-63462157(监理工程师业务)
010-63206354/6364(一级造价工程师业务)
水利部办公厅关于开展一级造价工程师(水利工程)和监理工程师(水利工程)执业活动动态核查工作的通知
办建设函〔2025〕726号
部机关各司局,部直属各单位,各省、自治区、直辖市水利(水务)厅(局),新疆生产建设兵团水利局,各有关单位和人员:
为加强对一级造价工程师(水利工程)、监理工程师(水利工程)执业活动的监督管理,创新和完善监管方式,充分运用大数据等技术,加强对“挂证”风险的跟踪预警,维护水利建设市场秩序,根据《国务院关于加强和规范事中事后监管的指导意见》《注册造价工程师(水利工程)管理办法》《注册监理工程师(水利工程)管理办法》等有关规定,经研究,决定开展一级造价工程师(水利工程)、监理工程师(水利工程)执业活动动态核查。现将有关事项通知如下:
一、核查对象
水利部准予注册的一级造价工程师(水利工程)、监理工程师(水利工程)。
二、核查方式
依据水利部政务服务平台注册一级造价工程师(水利工程)、监理工程师(水利工程)数据,以及从其他部门共享的政务数据,平台对相关人员其他职业资格注册和社会保险缴纳情况进行自动核查。
三、结果处理
经动态核查在其他单位注册其他职业资格或者缴纳社会保险的一级造价工程师(水利工程)、监理工程师(水利工程),将其注册证书状态设置为异常,在水利部网站的通知公示栏目、水利部政务服务平台以及全国水利建设市场监管平台予以公示,并通过水利部政务服务平台系统消息和手机短信通知相关人员。
四、结果应用
(一)对于注册证书状态异常的相关人员,水利部停止受理其延续注册和变更注册申请(通过变更注册进行问题整改的除外)。
(二)聘用注册证书状态异常人员的单位,不得将其作为水利工程建设监理单位资质申请(包括首次申请、晋升申请、延续申请以及变更申请)中的技术负责人、监理工程师、造价工程师等专业技术人员。
(三)对于聘用注册证书状态异常人员的水利工程建设监理单位,水利部将按照《水利部办公厅关于开展水利工程建设监理单位资质动态核查工作的通知》(办建设函〔2024〕1051号)要求进行重点核查,对专业技术人员数量的认定扣除注册证书状态异常人员。
(四)对使用注册证书状态异常人员参与水利工程建设项目投标的,招标人等有关单位应当对其执业单位等情况进行重点核查;注册证书状态异常人员正在参与水利工程建设项目实施的,项目主管部门应当对其到岗履职情况进行重点检查。
五、其他事项
(一)涉及在其他单位注册其他职业资格的人员,完成问题整改后,水利部政务服务平台将在10个工作日内自动恢复其注册证书为正常状态,本人也可登录水利部政务服务平台申请恢复注册证书为正常状态;涉及在其他单位缴纳社会保险的人员,完成问题整改后,本人应当登录水利部政务服务平台申请恢复注册证书为正常状态(具体要求见附件),聘用单位应当督促并配合其做好整改工作。
(二)各级水行政主管部门应当加大对注册证书状态异常的一级造价工程师(水利工程)、监理工程师(水利工程)的监管力度,规范专业技术人员执业活动,严厉打击“挂证”行为。
(三)一级造价工程师(水利工程)、监理工程师(水利工程)注册证书状态可通过“水利办”微信小程序扫描证书上的二维码查看。
附件
申请恢复注册证书状态说明
一、涉及在其他单位注册其他职业资格的
相关人员完成问题整改后,可提供已在其他单位注销其他职业资格注册的情况说明及必要的证明材料。
二、涉及在其他单位缴纳社会保险的
1.相关人员完成问题整改后,提供已在其他单位停缴社会保险(包括基本养老、基本医疗、失业和工伤等险种,下同)的情况说明和必要的证明材料,以及现聘用单位近一个月为其缴纳的社会保险参保缴费材料。
2.相关人员属于《住房和城乡建设部办公厅关于做好工程建设领域专业技术人员职业资格“挂证”等违法违规行为专项整治工作的补充通知》(建办市函〔2019〕92号)所列6种情形的,提供相应情况说明及必要的证明材料。
链接:http://www.mwr.gov.cn/zw/tzgg/tzgs/202511/t20251121_1738559.html














